当前位置:首页>铸造工艺

铝合金外场辅助半连续铸造研究现状与展望

左玉波 发表于2025/11/4 10:20:14 铝合金外场辅助铸造研究

原标题:东北大学左玉波等最新综述:高强铝合金外场辅助半连续铸造研究现状与展望

导读

航空航天、轨道交通等领域对铝合金材料的性能要求越来越高,不仅要强度高、重量轻,还要尺寸大、组织均匀。传统的半连续铸造技术虽成熟,但在制备大尺寸、高合金化铸锭时仍面临诸多难题。近年来,通过引入电磁场、超声场等外场辅助技术,研究人员成功实现了铸锭组织的细化和均匀化,为高性能铝合金的制备提供了新思路。

随着航空、航天工业的快速发展,对铝合金材料的尺寸和性能提出了更高要求。例如,现代飞机结构件趋向于使用整体机加工代替多零件组装,这就要求铝合金板材或锻件更厚、更大。7050铝合金预拉伸厚板厚度已达190毫米以上,锻件更是超过300毫米,这意味着需要更大尺寸、更高质量的铸锭作为原材料。

高强铝合金因其高合金化特性,在铸造过程中易出现缩松、偏析、裂纹等缺陷,尤其是随着铸锭尺寸增大,液穴加深,心部与表层凝固不同步,组织不均匀性问题更加突出。传统DC(直接水冷)铸造技术通过调整工艺参数难以彻底解决这些问题,亟需新技术突破。

【内容来源】

该研究由东北大学材料电磁过程研究教育部重点实验室的左玉波研究员团队完成,文章题为《高强铝合金外场辅助半连续铸造研究现状与展望》,发表于《特种铸造及有色合金》2025年第6期。研究系统综述了电磁场、超声场、熔体强剪切及组合外场在DC铸造中的应用,分析了其工作机制、技术特点与研究进展,并对外场辅助铸造技术的未来发展方向提出了展望。

【研究亮点】

外场辅助DC铸造可显著细化晶粒、抑制裂纹、减少偏析;

电磁场、超声场、强剪切场等可单独或组合使用,各具优势;

技术已成功应用于直径超1米的超大铸锭制备;

组合外场技术展现出更强的协同增效潜力。

【研究方法】

研究通过文献综述与实验分析相结合的方式,系统梳理了外场辅助DC铸造的技术原理、实现形式和作用机制,包括电磁场的Lorentz力作用、超声场的空化与声流效应、强剪切装置的机械破碎与对流增强等,并通过数值模拟与试验验证了其效果。

【内容解读】

1 铝合金DC铸造技术原理及应用

铝合金DC铸造技术起源于20世纪30年代,其基本原理是将熔体浇注到结晶器和引锭头围成的空间内,通过热交换沿边界凝固形成铸锭。该技术通过一冷和二冷两个阶段实现铸锭的快速冷却和凝固,形成稳定的连续铸造过程。DC铸造过程中,初凝壳的形成和收缩会导致气隙区冷却能力下降,影响铸锭次表层冷却速率,可能形成微通道和表层逆偏析。此外,铸锭中心和表层凝固不同步,产生铸造应力,可能导致铸造裂纹。为了提高铸锭表面质量和内部冶金质量,研究者不断优化工艺参数,并开发新技术如隔热膜铸造、热顶铸造等。然而,在大尺寸高强铝合金DC铸造方面,仍存在铸造裂纹、组织和成分不均匀等问题。为解决这些问题,研究者尝试引入外场如电磁场、超声场等,通过控制流场、温度场和凝固过程,以细化组织,提高组织成分分布均匀性,抑制铸造缺陷,进一步提高铸锭质量。

图1 DC铸造过程及液穴示意图

2 电磁场辅助DC铸造

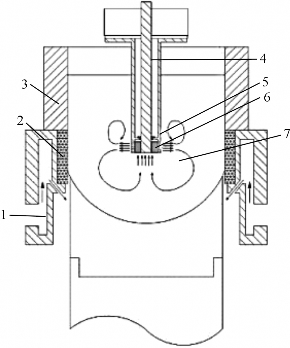
讨论了电磁场辅助DC铸造技术在高强铝合金铸造中的应用。通过引入交变电磁场产生的电磁约束力和搅拌力,可以控制铸锭凝固过程,改善铸锭表面质量和内部组织。电磁铸造技术(EMC)利用电磁感应原理产生Lorentz力约束金属熔体,实现无模铸造,具有表面光滑、偏析小的特点。细晶电磁铸造技术(CREM)和低频电磁铸造技术(LFEC)通过在结晶器外布置感应线圈,控制凝固过程,具有晶粒细化作用,提高铸锭表面质量和组织均匀性。LFEC技术通过低频电磁场产生的搅拌作用,使熔体温度均匀,抑制成分过冷,形成均匀细小的等轴晶组织。电磁场辅助DC铸造对铸造裂纹有抑制作用,能均匀温度场,减小液穴深度,减小铸造应力和宏观偏析。近年来,电磁场辅助DC铸造技术在工业应用中受到关注,为制备大尺寸高强铝合金铸锭提供了重要参考。

图2 低频电磁铸造示意图
1.冷却水 2.结晶器 3.石墨环 4.强制对流 5.弯月面 6.热顶 7.感应线圈

3 超声场辅助DC铸造

超声场辅助DC铸造技术通过在结晶器内熔体中产生超声场控制凝固过程,利用空化效应和声流效应实现晶粒细化、除气、提高形核率和组织均匀性。该技术在晶粒细化、抑制缩松、控制裂纹、减弱偏析等方面具有明显作用,具有重要应用潜力。然而,存在超声杆熔蚀、超声波衰减快等问题。为解决这些问题,提出了多元超声解决方案,成功制备了大尺寸铝合金铸锭。

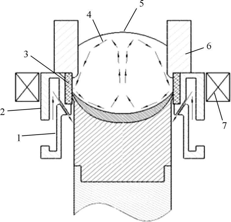
图3 熔体强剪切单元及其辅助DC铸造示意图
1.冷却水 2.石墨环 3.热顶 4.连接轴 5.定子 6.转子 7.熔体

4 熔体强剪切处理辅助DC铸造

FAN Z Y发明的双螺旋高剪切装置用于处理半固态轻金属浆料,获得均匀细小的球形晶粒组织。在液相线温度以上对合金熔体进行强剪切处理也能获得很好的晶粒细化效果。基于此,提出了使用双螺旋强剪切装置对熔体进行强剪切处理,再浇注到DC铸造结晶器中,开发了熔体处理DC铸造技术(MC-DC)。FAN Z Y等、ZHOU Y B等提出一种定子-转子型强剪切装置,并从结晶器上方将该装置端部放入DC铸造结晶器内熔体中,实现在线剪切处理和对凝固过程的控制,开发了熔体强剪切辅助DC铸造技术。定子-转子型装置结构简单、尺寸小巧、易于控制,剪切率更高,具有更优的破碎、减径、分散和混合等作用。与一般的机械搅拌相比,定子-转子型熔体强剪切装置既能提供非常高的剪切率,也能提供可控强制对流,而且定子的存在使得液面保持稳定,不形成大的漩涡,有利于保护熔体。熔体强剪切辅助DC铸造过程中,定子-转子强剪切装置的基本工作原理为,高速电机通过连接轴驱动转子高速旋转,带动定子内熔体转动,在离心力的作用下,熔体经定子上的开孔快速喷出,并从装置底部吸入熔体,由此在剪切装置周围和下部形成强制对流。在此过程中,在转子和定子之间的间隙以及定子的开孔中对熔体产生强剪切作用。强剪切作用促进枝晶臂破碎,提高形核率,有利于晶粒细化。强制对流一方面使得温度场均匀,减小液穴深度,降低铸造应力;另一方面,将剪切作用形成的晶核均匀分布在液穴中,提高组织均匀性。通过准确调节强剪切装置的转速和位置可以更精确调控形核行为以及液穴内流场、温度场,进而控制凝固过程。研究表明,强剪切处理对铝合金具有显著的晶粒细化作用。在DC铸造直径为300 mm 2024铝合金铸锭过程中发现位置靠下,在两相区的强剪切处理有利于获得晶粒尺寸更小的蔷薇形和球形混合晶粒组织。熔体强剪切辅助DC铸造过程中存在晶粒尺寸变化与缩松尺寸变化不同步的现象,缩松的尺寸除了与晶粒尺寸有关外,还与晶粒形貌有关,细小的等轴枝晶组织有利于减小缩松尺寸。进一步研究还表明熔体强剪切对铸态组织的调控作用很大程度上能够遗传到塑性变形后的组织、性能,枝晶臂细小的等轴晶组织有利于获得较好的组织和性能。通过模拟研究发现,施加强剪切处理后,液穴变浅且液穴内熔体温度分布更加均匀。施加熔体强剪切处理可以减小液穴深度,中心和表层凝固不同步的程度减弱,对减弱高强铝合金的宏观偏析和抑制铸造裂纹具有积极意义。

5 组合外场辅助DC铸造

探讨了高强铝合金外场辅助半连续铸造中组合外场的应用,包括电磁场、超声场和熔体强剪切等技术的结合使用。电磁场具有集肤效应,而低频磁场虽提高渗透性,但无法消除集肤效应,且存在液面波动问题。超声场在铝合金熔体中衰减快,影响区域小。熔体强剪切引起的对流内强外弱,尤其在大尺寸铸锭制备时更为明显。研究者通过组合场控制凝固过程,如双磁场DC铸造技术,利用静磁场和交变磁场产生电磁振荡,促进形核和游离,实现组织细化。超声-电磁组合场通过超声场产生晶核,电磁场增大作用区域,实现组织细化和提高均匀性。熔体强剪切-电磁组合场利用两者的互补性,通过叠加对流和混合作用,细化晶粒和提高组织均匀性。此外,还探讨了内冷场和电磁场的组合应用,以及其他形式的组合场。尽管组合外场辅助DC铸造技术显示出潜力,但仍需进一步研究以明确协同作用机制,并缩小与实际工业应用的差距。

 

图4 熔体强剪切-电磁辅助DC铸造示意图

【主要结论】

讨论了航空、航天等领域对高强度铝材的需求,强调了高质量铝合金铸锭的重要性以及先进铸造技术和装备的必要性。DC铸造技术作为制备高性能铝合金铸锭的主要手段,虽然在提高铸锭质量和成品率方面取得了进步,但在大尺寸高强铝合金铸锭成形性及组织、成分均匀性调控方面存在局限。外场辅助DC铸造技术通过调控流场、温度场,有助于制备细晶、均质、大尺寸、高合金化铝合金铸锭。研究综述了电磁场、超声场、熔体强剪切处理及组合外场辅助DC铸造技术的实现形式、基本原理、作用效果、技术特点和研究进展。外场辅助DC铸造技术在细化晶粒、抑制裂纹、提高组织、成分均匀性、提高生产率方面效果显著,但也面临设备复杂性、成本增加、操作难度提高等问题。研究还指出了外场对DC铸造过程影响规律和机理的不明确性,以及外场可能引起的液面波动和氧化膜问题。针对这些问题,提出了未来研究方向,包括外场辅助DC铸造技术在高强铝合金大尺寸铸锭铸造成形性问题解决和铸锭质量提高方面的应用研究,特殊场景下的应用研究,外场辅助DC铸造机理性基础研究,外场在扁铸锭DC铸造过程中的施加方式、作用效果和影响机理研究,以及组合场中单场之间的相互影响行为和协同作用机制研究。外场辅助DC铸造技术有望成为制备大尺寸高强铝合金铸锭的重要方法,组合外场辅助DC铸造技术为发展更大尺寸高强铝合金铸锭制备技术提供了重要的研究方向。

作者

左玉波,张湫颖,王睿,等. 高强铝合金外场辅助半连续铸造研究现状与展望[J].

本文转载自:《特种铸造及有色合金》

回页顶部